Miele PWM 909 [EL DP DD SOM] - Instrucciones

Miele PWM 909 [EL DP DD SOM] - Manual de uso, Manual de instalación en formato PDF en línea
Instrucciones:
Manual de uso Miele PWM 909 [EL DP DD SOM]



































































































































































































































































































































































































































































































































Resumen
es - Contenido 137 Relación de programas ............................................................................................................... 138 Extras seleccionables ................................................................................................................... 138 E...
es - Relación de programas 138 Extras seleccionables Extra Símbolo Descripción Preaclarado Preaclarado antes de que comience el proceso de lavado Prelavado Prelavado antes de iniciarse el lavado principal Poner en remojo Bloque al comienzo del lavado principal, 30 °C, con pocomovimiento Agua p...
es - Relación de programas 139 Programas básicos de la relación de programas El tiempo de lavado es el tiempo en el lavado principal que se lava al menos una vez des- pués de que se haya alcanzado la temperatura objetivo. Aquí no se registran los tiemposde entrada de agua, dosificación, calentamient...
es - Relación de programas 140 Programas Ropa de color Ropa de color 60 °C (frío hasta 60 °C) Proporción de lle-nado/capacidadde carga Tipo de tejido Prendas de algodón, lino o tejidos mixtos con su-ciedad normal, p. ej. ropa de cama o toallas 1:9 PWM 909 – 9 kg Desarrollo del pro-grama Lavado princ...
es - Relación de programas 142 Programas Ropa delicada/Camisas/Lana Ropa delicada 30 °C (frío hasta 60 °C) Capacidad de car-ga/cantidad Tipo de tejido Fibras sintéticas, seda artificial 1:25 PWM 909 – 3,2 kg Desarrollo del pro-grama Lavado principal hasta 60 °C, tiempo de lavado12 minritmo de lavado...
es - Relación de programas 143 Programa Aclarado extra Aclarado extra Capacidad de car-ga/cantidad Tipo de tejido Prendas que solo se deben aclarar y centrifugar 1:9 PWM 909 – 9 kg Desarrollo del pro-grama 1 lavadocentrifugado final Extras Stop llenado, Stop aclarado Programa Centrifugado Centrifuga...
es - Relación de programas 144 Programa Limpiar máquina Limpiar máquina 70 °C (de 70 °C a 90 °C) Tipo de tejido Sin carga Desarrollo del pro-grama + tecla Intensivo: lavado principal adicional hasta 90 °C, tiempo de lavado 6 min2 aclaradosDesagüe Extras Remojo, Agua plus, Intensivo, Aclarado plus...
es - Relación de programas 145 Relación de programas Hoteles/Restaurantes/Catering Este ámbito comprende una gran variedad de tejidos con diferentes grados de suciedad.Este programa está indicado para lavar ropa de cama y toallas de mano con poca suciedad,mantelerías más sucias o hasta ropa de cocin...
es - Relación de programas 146 Programa Ropa de rizo wellness Ropa de rizo wellness 50 °C (frío hasta 90 °C) Capacidad de car-ga/cantidad Tipo de tejido Ropa de cama y toallas blancas y de color de al-godón, lino o tejidos mixtos muy sucios con res-tos de aceite o grasa 1:13* PWM 909 – 6,2 kg Desarr...
es - Relación de programas 147 Programa Paños de cocina Paños de cocina 90 °C (frío hasta 90 °C) Capacidad de car-ga/cantidad Tipo de tejido Ropa de cocina de algodón, lino o tejidos mixtos 1:13 PWM 909 – 6,2 kg Desarrollo del pro-grama Prelavadolavado principal hasta 90 °C, tiempo de lavado10 minCo...
es - Relación de programas 148 Relación de programas Edredones/Cortinas Programas Cortinas Cortinas 40 °C (frío hasta 60 °C) Capacidad de car-ga/cantidad Tipo de tejido Fibras sintéticas, seda artificial 1:25 PWM 909 – 3,2 kg Desarrollo del pro-grama Lavado principal hasta 60 °C, tiempo de lavado14 ...
es - Relación de programas 149 Programas Edredones Estos programas están indicados para lavar edredones y fundas con relleno sintético, deplumas o de pelo natural. Estos programas de lavados han sido ideados exclusivamente para lavar prendas que ha-yan sido etiquetadas por el fabricante como aptas p...
es - Relación de programas 150 Información general sobre la desinfección ¿Qué significa «desinfección»? Eliminación y reducción del número de gérmenes que transmiten enfermedades de maneraque no quepa esperar un contagio o infección. Desinfección térmica La desinfección térmica se lleva a cabo aplic...
es - Relación de programas 151 Lista de la VAH VAH = Unión de Higiene Aplicada (Verbund für angewandte Hygiene), organización regis-trada (antiguamente DGHM = Sociedad Alemana de Higiene y Microbiología, Deutsche Ge-sellschaft für Hygiene und Mikrobiologie). En la lista de la VAH se describen los pr...
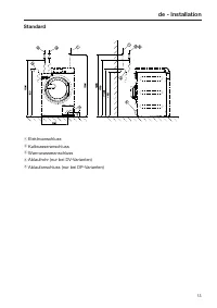
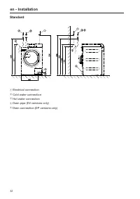
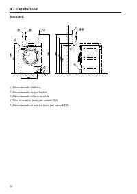
es - Relación de programas 152 Conexión de agua para variantes con potencia calefactora reducida (RH) El aparato debe estar conectado al agua fría y caliente. Para poder utilizar todos los progra-mas, se recomienda una temperatura del agua caliente de al menos 80 °C. Las temperatu-ras inferiores pue...
es - Relación de programas 153 Relación de programas Desinfección Desinfección térmica y Desinfección termoquímica son programas para la desinfección de los tejidos.Se realiza una desinfección termoquímica o térmica. Deben utilizarse detergentes adecua-dos para la desinfección termoquímica. Todos lo...
es - Relación de programas 155 Des. termoq. Del. 20 min 40 °C Capacidad de car-ga/cantidad Tipo de tejido Algodón, tejidos mixtos, cortinas 1:10 PWM 909 – 8 kg Desarrollo del pro-grama Desinfección 40 °C*, tiempo de mantenimiento20 min.Ritmo de lavado «fino»2 aclarados (se puede activar aclarado de ...
es - Relación de programas 156 Relación de programas Limpieza de edificios Este programa está indicado para lavar, desinfectar e impregnar (en diferentes grados dehumedad) fundas de fregado de algodón o tejidos mixtos, felpudos, discos de pulido o ba-yetas empleados por empresas de servicios de limp...
es - Relación de programas 157 Programa Mopas Para evitar suciedad intensa en la máquina, sacuda las mopas antes de introducirlas en lamáquina. Mopas estándar 60 °C (frío hasta 90 °C) Capacidad de car-ga/cantidad Tipo de tejido Paños de algodón, viscosa, poliéster, microfibra 1:9 PWM 909 – 9 kg Nú...
es - Relación de programas 158 Mopas desinf. térmica 90 °C Capacidad de car-ga/cantidad Tipo de tejido Paños de algodón, viscosa, poliéster, microfibra 1:9 PWM 909 – 9 kg Número de unidades ver tabla «capacidad de carga de fregonas» Desarrollo del pro-grama Centrifugado previoBaño de prelavado2.° ba...
es - Relación de programas 159 Des. termoq. Mopas 10 min 70 °C Capacidad de car-ga/cantidad Tipo de tejido Paños de algodón, viscosa, poliéster, microfibra 1:10 PWM 909 – 8 kg Desarrollo del pro-grama PredrenajeBaño de prelavado2.° baño de prelavado, en Extra «Prelavado» seleccionableDesinfección*...
es - Relación de programas 160 Des. tq. mop. 20 min+ rtu 60 °C Capacidad de car-ga/cantidad Tipo de tejido Paños de algodón, viscosa, poliéster, microfibra 1:10 PWM 909 – 8 kg Desarrollo del pro-grama Desarrollo del programa como Mopas desinfec-ción termoquímica. Desinfección*, luego ajustar la hume...
es - Relación de programas 161 El programa Mopas rtu es apto para el almidonado posterior de mopas secas y limpias. Para el almidonado se añade una solución desinfectante.Las cantidades de dosificación deben ajustarse in situ y se debe comprobar que se cum-plen las normas de desinfección. La capacid...
es - Relación de programas 162 Programas Colchonetas/Discos Colchonetas 40 °C (frío hasta 60 °C) Capacidad de car-ga/cantidad Tipo de tejido Felpudos 1:15 PWM 909 – máx. 5,4 kg Desarrollo del pro-grama Prelavadolavado principal hasta 60 °C, tiempo de lavado8 min3 aclaradoscentrifugado final Extras R...
es - Relación de programas 163 Programas para paños Estos programas están indicados para lavar, desinfectar y almidonar (en diferentes gradosde humedad) paños de algodón, tejidos mixtos o microfibra empleados por empresas deservicios de limpieza de edificios. Paños estándar 60 °C (frío hasta 90 °C) ...
es - Relación de programas 164 Paños Desinf. térmica 90 °C Capacidad de car-ga/cantidad Tipo de tejido Paños de limpieza de algodón, viscosa, poliéster,microfibra 1:18 PWM 909 – 4,6 kg Número de unidades ver tabla «Capacidad de carga de paños» Desarrollo del pro-grama PrelavadoPrelavado hasta 30 °CD...
es - Relación de programas 166 Paños rtu Capacidad de car-ga/cantidad Tipo de tejido Paños de limpieza de algodón, viscosa, poliéster,microfibra 1:18 PWM 909 – 4,6 kg Número de unidades ver tabla «Capacidad de carga de paños» Desarrollo del pro-grama 1 aclaradoluego ajustar la humedad residual media...
es - Relación de programas 167 Relación de programas Bomberos Estos programas están indicados para lavar e impregnar trajes de bomberos Nomex, cha-quetas, pantalones, mascarillas y trajes de protección química. Programa para trajes de protección Ropa protección 60 °C (frío hasta 60 °C) Capacidad de ...
es - Relación de programas 168 Ropa protección para preparar la ropa No coloque etiquetas en la ropa sucia. En la medida de lo posible, retire los mosquetones o introdúzcalos en un bolsillo lateral yciérrelo. Cierre los velcros o cúbralos con una banda de velcro. Lave el relleno de lana virg...
es - Relación de programas 169 Programas Mascarillas Mascarillas son programas pensados para el lavado y la desinfección de máscaras respi- ratorias con goma de ajuste. A fin de proteger los cristales visores, gire las cintas de las mascarillas antes de introdu-cirlas en la máquina. Introduzca c...
es - Relación de programas 170 Programas Ropa de rescate Cascos * 60 °C (frío hasta 60 °C) Proporción de lle-nado/capacidadde carga Tipo de tejido Cascos de protección de bombero PWM 909 – 3 cascos Desarrollo del pro-grama Prelavado hasta 40 °CLavado principal hasta 60 °C, tiempo de lavado16 min.3 a...
es - Relación de programas 171 Correas * 40 °C (frío hasta 40 °C) Proporción de lle-nado/capacidadde carga Tipo de tejido Acoplamientos para bomberos también con com-ponentes de aluminio y con cuero PWM 909 –6 enganches Desarrollo del pro-grama Lavado principal hasta 40 °C, tiempo de lavado8 minutos...
es - Relación de programas 173 Relación de programas WetCare La «limpieza húmeda» de WetCare es un procedimiento de limpieza suave que utilizaagua y producto para el mantenimiento especiales para prendas que hasta ahora solo po-dían limpiarse químicamente. WetCare sensitiv 25 °C (frío hasta 30 °C) C...
es - Relación de programas 174 Relación de programas Outdoor Outdoor 40 °C (frío hasta 40 °C) Capacidad de car-ga/cantidad Tipo de tejido Poliamida y artículos con membrana 1:15 PWM 909 – 5,4 kg Desarrollo del pro-grama Lavado principal hasta 40 °C, tiempo de lavado6 min2 aclaradoscentrifugado final...
es - Relación de programas 175 Relación de programas Establo Este programa está indicado para lavar e impregnar mantas para caballos, sudaderos, pro-tectores, campanas, vendas, cabezadas de tejido. Mantas para caballos 60 °C (frío hasta 60 °C) Capacidad decarga/cantidad Tipo de tejido Mantas, mantil...
es - Relación de programas 176 Detergente Al lavar, utilice un detergente sin blanqueadores ni blanqueantes ópticos.Para las mantas de lana se deben utilizar productos con un valor de pH algo bajo. Dado elcaso, se pueden añadir también productos enzimáticos.Conviene evitar el uso de proteasas, dado ...
es - Relación de programas 177 Relación de programas Deporte Ropa de deporte 40 °C (frío hasta 60 °C) Capacidad de car-ga/cantidad Tipo de tejido Poliéster o poliamida con y sin elastano 1:20 PWM 909 – 4 kg Desarrollo del pro-grama Lavado principal hasta 60 °C, tiempo de lavado6 min3 aclaradoscentri...
es - Relación de programas 178 Relación de programas Ropa de trabajo Aceite/grasa 60 °C (frío hasta 90 °C) Capacidad de car-ga/cantidad Tipo de tejido Ropa de trabajo, toallas, tapas y paños de limpie-za de algodón o tejidos mixtos sucios de aceite ograsa 1:10 PWM 909 – 8 kg Desarrollo del pro-grama...
es - Relación de programas 179 Relación de programas Fecales (Laundry Regulation HTM 01–04) Los programas Fecales están pensados para ropa interior, así como ropa de cama y toallascon elevado grado de suciedad. La desinfección se realiza siguiendo las indicaciones del National Health Service (ReinoU...
es - Relación de programas 180 Desarrollo del programa Fecales Fecales sensitiv 65 °C Paso de pro- grama Relación del agua de la- vado* Parada térmica Temperatura Temperatura tiempo de manteni- miento (tiempo de lavado 2) Tiempo de lava- do programado aprox. Prelavado 1 1:7 no fría - 5 min Prelavad...
es - Relación de programas 181 Resumen de programas Eco Los programas Eco son programas opcionales que se pueden descargar en internet. Ropa de color Eco 40 °C (frío hasta 40 °C) Proporción de lle-nado/capacidadde carga Tipo de tejido Prendas de algodón, lino o tejidos mixtos algo su-cios, p. ej. ro...
Manual de instalación Miele PWM 909 [EL DP DD SOM]






























































Other Miele Otros Manuals
-
Miele APWM 063 Manual de instalación
-
Miele UO 811-30 Manual de instalación
-
Miele UO 413-30 Manual de instalación
-
Miele UO 814-25 Manual de instalación
-
Miele UO 818/418-25 Manual de instalación
-
Miele APWM 020 Manual de uso
-
Miele APWM 020 Manual de instalación
-
Miele SC Manual de instalación
-
Miele PR Manual de instalación
-
Miele FP 900 Manual de instalación
-
Miele RP 900 Manual de instalación
-
Miele APWM 019 Manual de uso
-
Miele APWM 019 Manual de instalación
-
Miele PR 900 Manual de instalación
-
Miele A 830/1 Manual de uso
-
Miele TT 86 Manual de uso
-
Miele RP 1150 Manual de instalación
-
Miele UG 5010 Manual de instalación
-
Miele UO 5010 Manual de instalación
-
Miele APCL 001 Manual de instalación