Miele PWM 912 [EL DV DD SOM] - Instrucciones

Miele PWM 912 [EL DV DD SOM] - Manual de uso, Manual de instalación en formato PDF en línea
Instrucciones:
Manual de uso Miele PWM 912 [EL DV DD SOM]
























































































































































































































































































































































































































































































































































































Resumen
es - Contenido 150 Relación de programas ............................................................................................................... 152 Extras seleccionables ................................................................................................................... 152 E...
es - Relación de programas 152 Extras seleccionables Extra Símbolo Descripción Preaclarado Preaclarado antes de que comience el proceso de lavado Prelavado Prelavado antes de iniciarse el lavado principal Poner en remojo Bloque al comienzo del lavado principal, 30 °C, con pocomovimiento Agua p...
es - Relación de programas 153 Programas básicos de la relación de programas El tiempo de lavado es el tiempo en el lavado principal que se lava al menos una vez des- pués de que se haya alcanzado la temperatura objetivo. Aquí no se registran los tiemposde entrada de agua, dosificación, calentamient...
es - Relación de programas 154 Programas Ropa de color Ropa de color 60 °C (frío hasta 60 °C) Proporción de lle-nado/capacidadde carga Tipo de tejido Prendas de algodón, lino o tejidos mixtos con su-ciedad normal, p. ej. ropa de cama o toallas 1:9 PWM 912 – 12 kgPWM 916 – 16 kg PWM 920 – 20 kg Desar...
es - Relación de programas 156 Programas Ropa delicada/Camisas/Lana Ropa delicada 30 °C (frío a 60 °C) Capacidad de car-ga/cantidad Tipo de tejido Fibras sintéticas, seda artificial 1:25 PWM 912 – 4,4 kg PWM 916 – 5,6 kg PWM 920 – 7,2 kg Desarrollo del pro-grama Lavado principal hasta 60 °C, tiempo ...
es - Relación de programas 157 Programa Aclarado extra Aclarado extra Capacidad de car-ga/cantidad Tipo de tejido Prendas que solo se deben aclarar y centrifugar 1:9 PWM 912 – 12 kgPWM 916 – 16 kg PWM 920 – 20 kg Desarrollo del pro-grama 1 lavadocentrifugado final Extras Stop llenado, Stop aclarados...
es - Relación de programas 158 Programa Limpiar máquina Limpiar máquina 70 °C (de 70 °C a 90 °C) Tipo de tejido Sin carga Desarrollo del pro-grama + tecla Intensivo: lavado principal adicional hasta 90 °C, tiempo de lavado 6 min2 aclaradosDesagüe Extras Remojo, Agua plus, Intensivo, Aclarado plus...
es - Relación de programas 159 Relación de programas Hoteles/Restaurantes/Catering Este ámbito comprende una gran variedad de tejidos con diferentes grados de suciedad.Este programa está indicado para lavar ropa de cama y toallas de mano con poca suciedad,mantelerías más sucias o hasta ropa de cocin...
es - Relación de programas 160 Programa Ropa de rizo wellness Ropa de rizo wellness 50 °C (frío hasta 90 °C) Proporción de lle-nado/capacidadde carga Tipo de tejido Ropa de cama y toallas blancas y de color de al-godón, lino o tejidos mixtos muy sucios con res-tos de aceite o grasa 1:13* PWM 912 – 8...
es - Relación de programas 161 Programa Paños de cocina Paños de cocina 90 °C (frío a 90 °C) Capacidad de car-ga/cantidad Tipo de tejido Ropa de cocina de algodón, lino o tejidos mixtos 1:13 PWM 912 – 8,6 kg PWM 916 – 10,8 kg PWM 920 – 13,8 kg Desarrollo del pro-grama Preaclaradolavado principal has...
es - Relación de programas 162 Relación de programas Edredones/Cortinas Programas Cortinas Cortinas 40 °C (frío a 60 °C) Capacidad de car-ga/cantidad Tipo de tejido Fibras sintéticas, seda artificial 1:25 PWM 912 – 4,4 kg PWM 916 – 5,6 kg PWM 920 – 7,2 kg Desarrollo del pro-grama Lavado principal ha...
es - Relación de programas 163 Programas Edredones Estos programas están indicados para lavar edredones y fundas con relleno sintético, deplumas o de pelo natural. Estos programas de lavados han sido ideados exclusivamente para lavar prendas que ha-yan sido etiquetadas por el fabricante como aptas p...
es - Relación de programas 164 Capacidades de carga para edredones Las cantidades máximas de carga pueden consultarse en la siguiente tabla. Se trata de va-lores aproximados que pueden variar dependiendo del tamaño y del grosor de los edredo-nes. Modelo Cantidad* PWM 912 2 almohadas o 1 edredón PWM ...
es - Relación de programas 165 Información general sobre la desinfección ¿Qué significa «desinfección»? Eliminación y reducción del número de gérmenes que transmiten enfermedades de maneraque no quepa esperar un contagio o infección. Desinfección térmica La desinfección térmica se lleva a cabo aplic...
es - Relación de programas 166 Lista de la VAH VAH = Unión de Higiene Aplicada (Verbund für angewandte Hygiene), organización regis-trada (antiguamente DGHM = Sociedad Alemana de Higiene y Microbiología, Deutsche Ge-sellschaft für Hygiene und Mikrobiologie). En la lista de la VAH se describen los pr...
es - Relación de programas 168 Relación de programas Desinfección Desinfección térmica y Desinfección termoquímica son programas para la desinfección de los tejidos.Se realiza una desinfección termoquímica o térmica. Deben utilizarse detergentes adecua-dos para la desinfección termoquímica. Todos lo...
es - Relación de programas 170 Des. termoq. Del. 20 min 40 °C Capacidad de car-ga/cantidad Tipo de tejido Algodón, tejidos mixtos, cortinas 1:10 PWM 912 – 11 kg PWM 916 – 14 kg PWM 920 – 18 kg Desarrollo del pro-grama Desinfección 40 °C*, tiempo de mantenimiento20 minutos ritmo de lavado «delicado»3...
es - Relación de programas 171 Relación de programas Limpieza de edificios Este programa está indicado para lavar, desinfectar e impregnar (en diferentes grados dehumedad) fundas de fregado de algodón o tejidos mixtos, felpudos, discos de pulido o ba-yetas empleados por empresas de servicios de limp...
es - Relación de programas 172 Programa Mopas Para evitar suciedad intensa en la máquina, sacuda las mopas antes de introducirlas en lamáquina. Mopas estándar 60 °C (frío a 90 °C) Capacidad de car-ga/cantidad Tipo de tejido Fundas para mopas de algodón, viscosa, poliés-ter, microfibra 1:9 PWM 912 ...
es - Relación de programas 173 Mopas desinf. térmica 90 °C Capacidad de car-ga/cantidad Tipo de tejido Fundas para mopas de algodón, viscosa, poliés-ter, microfibra 1:9 PWM 912 – 12 kgPWM 916 – 16 kg PWM 920 – 20 kg Número de unidades Ver la tabla «Capacidad de carga de mopas» Desarrollo del pro-gra...
es - Relación de programas 174 Des. termoq. Mopas 10 min 70 °C Capacidad de car-ga/cantidad Tipo de tejido Fundas para mopas de algodón, viscosa, poliés-ter, microfibra 1:10 PWM 912 – 11 kg PWM 916 – 14 kg PWM 920 – 18 kg Desarrollo del pro-grama Centrifugado previobaño de aclarado previo2.º baño de...
es - Relación de programas 175 Des. tq. mop. 20 min+ rtu 60 °C Capacidad de car-ga/cantidad Tipo de tejido Fundas para mopas de algodón, viscosa, poliés-ter, microfibra 1:10 PWM 912 – 11 kg PWM 916 – 14 kg PWM 920 – 18 kg Desarrollo del pro-grama Desarrollo del programa como Mopas desinfec-ción term...
es - Relación de programas 176 El programa Mopas rtu es apto para el almidonado posterior de mopas secas y limpias. Para el almidonado se añade una solución desinfectante.Las cantidades de dosificación deben ajustarse in situ y se debe comprobar que se cum-plen las normas de desinfección. La capacid...
es - Relación de programas 177 Programa para alfombras y esteras Colchonetas 40 °C (frío a 60 °C) Capacidad de car-ga/cantidad Tipo de tejido Felpudos 1:15 PWM 912 – máx. 7,4 kg PWM 916 – máx. 9,4 kg PWM 920 – máx. 12 kg Desarrollo del pro-grama Preaclaradolavado principal hasta 60 °C, tiempo de lav...
es - Relación de programas 178 Programas para paños Estos programas están indicados para lavar, desinfectar e impermeabilizar (en diferentesgrados de humedad) paños de algodón, tejidos mixtos o microfibra empleados por empre-sas de servicios de limpieza de edificios. Paños estándar 60 °C (frío a 90 ...
es - Relación de programas 179 Paños Desinf. térmica 90 °C Capacidad de car-ga/cantidad Tipo de tejido Paños de limpieza de algodón, viscosa, poliéster,microfibra 1:18 PWM 912 – 6,0 kg PWM 916 – 8,0 kg PWM 920 – 10 kg Número de unidades Ver la tabla «Capacidad de carga de paños» Desarrollo del pro-g...
es - Relación de programas 181 Paños rtu Capacidad de car-ga/cantidad Tipo de tejido Paños de limpieza de algodón, viscosa, poliéster,microfibra 1:18 PWM 912 – 6,0 kg PWM 916 – 8,0 kg PWM 920 – 10 kg Número de unidades Ver la tabla «Capacidad de carga de paños» Desarrollo del pro-grama 1 aclaradolue...
es - Relación de programas 182 Relación de programas Bomberos Estos programas están indicados para lavar e impregnar trajes de bomberos Nomex, cha-quetas, pantalones, mascarillas y trajes de protección química. Programa para trajes de protección Ropa protección 60 °C (frío hasta 60 °C) Proporción de...
es - Relación de programas 183 Ropa protección para preparar la ropa No coloque etiquetas en la ropa sucia. En la medida de lo posible, retire los mosquetones o introdúzcalos en un bolsillo lateral yciérrelo. Cierre los velcros o cúbralos con una banda de velcro. Lave el relleno de lana virg...
es - Relación de programas 184 Programas Mascarillas Mascarillas comprende programas pensados para el lavado y la desinfección de másca- ras respiratorias con goma de ajuste. A fin de proteger los visores, gire las cintas de las mascarillas antes de introducirlas en lamáquina. Introduzca cada un...
es - Relación de programas 186 Programa para trajes de protección química CSA es un programa pensado para el lavado de trajes de protección química de los cuer- pos de bomberos.Para ello se lleva a cabo una desinfección termoquímica (60 °C/20 minutos) para la quehay que utilizar un detergente adecua...
es - Relación de programas 187 Programas Ropa de rescate Cascos * 60 °C (frío hasta 60 °C) Proporción de lle-nado/capacidadde carga Tipo de tejido Cascos de protección de bombero PWM 912 – 3 cascos PWM 916 – 4 cascos PWM 920 – 5 cascos Desarrollo del pro-grama Prelavado hasta 40 °CLavado principal h...
es - Relación de programas 188 Correas * 40 °C (frío hasta 40 °C) Proporción de lle-nado/capacidadde carga Tipo de tejido Acoplamientos para bomberos también con com-ponentes de aluminio y con cuero PWM 912 – 8 acopladores PWM 916 – 12 acopladores PWM 920 – 15 acopladores Desarrollo del pro-grama La...
es - Relación de programas 189 Ropa de rescate * 60 °C Proporción de lle-nado/capacidadde carga Tipo de tejido Nomex y algodón ver la tabla «Capacidad de carga para ropa de rescate» Desarrollo del pro-grama Prelavado hasta 40 °Cdesinfección* 60 °C, tiempo de mantenimiento20 minutos2 aclarados (opcio...
es - Relación de programas 191 Relación de programas WetCare La «limpieza húmeda» de WetCare es un procedimiento de limpieza suave que utilizaagua y producto para el mantenimiento especiales para prendas que hasta ahora solo po-dían limpiarse químicamente. WetCare sensitiv 25 °C (entre lavado en frí...
es - Relación de programas 192 Relación de programas Outdoor Outdoor 40 °C (frío a 40 °C) Capacidad de car-ga/cantidad Tipo de tejido Poliamida y artículos con membrana 1:15 PWM 912 – 7,4 kg PWM 916 – 9,4 kg PWM 920 – 12 kg Desarrollo del pro-grama Lavado principal hasta 40 °C, tiempo de lavado6 min...
es - Relación de programas 193 Relación de programas Establo Este programa está indicado para lavar e impregnar mantas para caballos, sudaderos, pro-tectores, campanas, vendas, cabezadas de tejido. Mantas para caballos 60 °C (frío hasta 60 °C) Proporción de lle-nado/capacidadde carga Tipo de tejido ...
es - Relación de programas 195 Detergente durante el lavado se debe utilizar un detergente sin blanqueador ni blanqueante óptico.Para las mantas de lana se deben utilizar productos con un valor de pH algo bajo. Dado elcaso, se pueden añadir también productos enzimáticos.Conviene evitar el uso de pro...
es - Relación de programas 196 Relación de programas Deporte Ropa de deporte 40 °C (frío a 60 °C) Capacidad de car-ga/cantidad Tipo de tejido Mallas y pantalones de fibra sintética o tejidosmixtos 1:20 PWM 912 – 5,6 kg PWM 916 – 7 kg PWM 920 – 9 kg Desarrollo del pro-grama Lavado principal hasta 60 ...
es - Relación de programas 197 Relación de programas Ropa de trabajo Aceite/grasa 60 °C (frío a 90 °C) Capacidad de car-ga/cantidad Tipo de tejido Ropa de trabajo, toallas, tapas y paños de limpie-za de algodón o tejidos mixtos sucios de aceite ograsa 1:10 PWM 912 – 11 kg PWM 916 – 14 kg PWM 920 – 1...
es - Relación de programas 198 Relación de programas Fecales (Laundry Regulation HTM 01–04) Los programas Fecales están pensados para ropa interior, así como ropa de cama y toallascon elevado grado de suciedad. La desinfección se realiza siguiendo las indicaciones del National Health Service (ReinoU...
es - Relación de programas 199 Desarrollo del programa Fecales Fecales sensitiv 65 °C Paso de pro- grama Relación del agua de la- vado* Parada térmica Temperatura Temperatura tiempo de manteni- miento (tiempo de lavado 2) Tiempo de lava- do programado aprox. Prelavado 1 1:7 no fría - 5 min Prelavad...
es - Relación de programas 200 Relación de programas Recuperación de agua (WRG) Limpiar WRG 80 °C Capacidad de car-ga/cantidad Desarrollo del pro-grama VaciadoAclaradoVaciadoLimpiezaVaciadoAclaradoVaciado Vaciar WRG Fría Desarrollo del pro-grama Vaciado
es - Relación de programas 201 Resumen de programas Eco Los programas Eco son programas opcionales que se pueden descargar en internet. Ropa de color Eco 40 °C (frío hasta 40 °C) Proporción de lle-nado/capacidadde carga Tipo de tejido Prendas de algodón, lino o tejidos mixtos algo su-cios, p. ej. ro...
Manual de instalación Miele PWM 912 [EL DV DD SOM]































































































































Resumen
es - Indicaciones para la instalación *INSTALLATION* 65 Explicación de las indicaciones de advertencia y seguridad si-tuadas en la máquina Leer las instrucciones de manejo Leer las instrucciones, p. ej., las instrucciones de ins-talación Precaución, superficies calientes Precaución, tensión de hasta...
es - Indicaciones para la instalación *INSTALLATION* 66 Emplazamiento Transporte la lavadora con una carretilla elevadora hasta el lugar deemplazamiento y retire el embalaje de transporte. La lavadora debe colocarse sobre una superficie totalmente lisa y hori-zontal que soporte como mínimo la carga ...
es - Indicaciones para la instalación *INSTALLATION* 67 Para garantizar un funcionamiento óptimo y eficiente, la lavadora de-be apoyarse correctamente y de forma horizontal sobre las cuatrobases de apoyo. En caso contrario, aumenta el consumo de agua yenergía y la lavadora podría desplazarse. Una ...
es - Indicaciones para la instalación *INSTALLATION* 68 Una conmutación de tensión debe realizarla exclusivamente el Ser- vicio Post-venta de Miele o un distribuidor autorizado. Al hacerlo, hayque tener en cuenta la instrucción de cambio de cableado del planode conexiones. La lavadora puede conect...
es - Indicaciones para la instalación *INSTALLATION* 69 Para la conexión de agua en principio solo deben utilizarse las man-gueras de entrada suministradas. Las uniones con tornillos están sometidas a la presión de las tu- berías.Abra lentamente los grifos para comprobar si las conexiones sonestan...
es - Indicaciones para la instalación *INSTALLATION* 70 Si no se dispone de una tubería de agua caliente, la manguera de en-trada del agua caliente deberá conectarse también a la toma de sumi-nistro de agua fría. Para estos casos, se necesita una pieza en Y adi-cional. De esta manera, se necesitará ...
es - Indicaciones para la instalación *INSTALLATION* 71 grama. No se permiten temperaturas de entrada de agua inferiores a60 °C, ya que provocan un aumento significativo del tiempo de fun-cionamiento. Conexión de aguapara variantes concalefacción exter-na (EH) El aparato debe estar conectado al agua...
es - Indicaciones para la instalación *INSTALLATION* 72 Las conexiones 3 a 12 están previstas para los detergentes líquidos. A estas conexiones no podrá conectarse ningún dispositivo de dosifica-ción de presión alta con acompañamiento de agua. Los manguitos seencuentran cerrados y, antes de su cone...
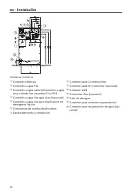
es - Indicaciones para la instalación *INSTALLATION* 73 Al utilizar y combinar detergentes y productos especiales, respetar entodo momento las indicaciones de uso del fabricante. Aparato de cobro La lavadora se puede equipar a través de la Connector-Box con unaparato recaudador individual, como acce...
es - Indicaciones para la instalación *INSTALLATION* 74 Interfaz WiFi/LAN La lavadora está equipada con una interfaz WiFi/LAN para el inter-cambio de datos. La interfaz de datos proporcionada en la conexión LAN cumple con lanorma SELV (tensión extrabaja) según la norma EN 60950. La cone-xión LAN se ...
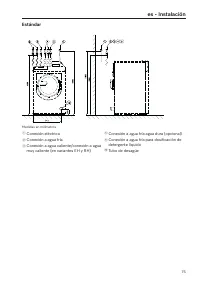
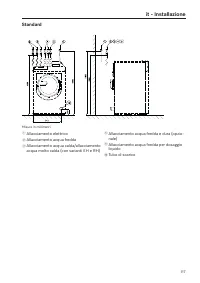
es - Instalación 75 Estándar Medidas en milímetros a Conexión eléctrica b Conexión a agua fría c Conexión a agua caliente/conexión a aguamuy caliente (en variantes EH y RH) d Conexión a agua fría agua dura (opcional) e Conexión a agua fría para dosificación dedetergente líquido l Tubo de desagüe
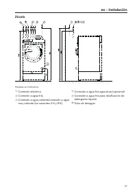
es - Instalación 77 Zócalo Medidas en milímetros a Conexión eléctrica b Conexión a agua fría c Conexión a agua caliente/conexión a aguamuy caliente (en variantes EH y RH) d Conexión a agua fría agua dura (opcional) e Conexión a agua fría para dosificación dedetergente líquido l Tubo de desagüe
es - Datos técnicos 82 Variantes de tensión y datos eléctricos 3N AC 400 V EL DV Tensión nominal 3N AC 400 V Frecuencia 50/60 Hz Fusible necesario (en el lugar de montaje) Característica de activación del interruptor de potencia 16 A Modelo B Consumo de potencia 9,6 kW Sección mínima del cable de co...
es - Datos técnicos 83 Conexión de agua Conexión a agua fría Presión de flujo necesaria 100 - 1000 kPa (1 - 10 bar) Caudal máximo 31,5 l/min Racor de conexión necesario (rosca exterior, en el lugar de instalación, según DIN 44991, ais-lante plano) 3 x 3/4" Longitud de la manguera de entrada de a...
es - Datos técnicos 84 Medidas de emplazamiento Ancho de la carcasa (sin piezas adosadas) 795 mm Alto de la carcasa (sin piezas adosadas) 1347 mm Fondo de la carcasa (sin piezas adosadas) 825 mm Ancho total de máquina 799 mm Altura total de la máquina 1350 mm Profundidad total de la máquina 926 mm A...
Other Miele Otros Manuals
-
Miele APWM 063 Manual de instalación
-
Miele UO 811-30 Manual de instalación
-
Miele UO 413-30 Manual de instalación
-
Miele UO 814-25 Manual de instalación
-
Miele UO 818/418-25 Manual de instalación
-
Miele APWM 020 Manual de uso
-
Miele APWM 020 Manual de instalación
-
Miele SC Manual de instalación
-
Miele PR Manual de instalación
-
Miele FP 900 Manual de instalación
-
Miele RP 900 Manual de instalación
-
Miele APWM 019 Manual de uso
-
Miele APWM 019 Manual de instalación
-
Miele PR 900 Manual de instalación
-
Miele A 830/1 Manual de uso
-
Miele TT 86 Manual de uso
-
Miele RP 1150 Manual de instalación
-
Miele UG 5010 Manual de instalación
-
Miele UO 5010 Manual de instalación
-
Miele APCL 001 Manual de instalación